Saltar al contenido

Kawasaki parece estar trabajando en una moto de 3 ruedas

16 de enero de 2021
kawasaki 1

Kawasaki moto 3 ruedas bikeleaks patente filtrada

Patentes filtradas Kawasaki de 3 ruedas

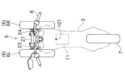
Kawasaki parece estar trabajando en un tren delantero de 2 ruedas, tal y como se ven en las siguientes patentes filtradas.

Las motos de 3 ruedas cada vez están más de moda, prueba de ello son los recientes modelos urbanos, la Yamaha Niken, los múltiples modelos de Quadro, el último modelo KYMCO, kmv kawasaki por no hablar del pionero MP3 de Piaggio. Esta vez es el caso de Kawasaki, que según las últimas patentes filtradas parece estar trabajando en un sistema de 3 ruedas.

El mercado de las 3 ruedas está creciendo, y no es la primera vez que Kawasaki trabaja en un prototipo de 3 ruedas, incluso ha lanzado su propia marca de máquinas reclinables de pedal eléctrico de 3 ruedas. Ahora lo que parece llegarnos es un posible modelo de 3 ruedas, aunque a falta de tener más información, vemos que realmente la patente se centra únicamente en el tren delantero. kmv kawasaki. Soportado o instalado sobre una pipa de dirección convencional. Podría incluso de tratarse de un tren delantero de 2 ruedas instalable sobre motos de 2 ruedas.

Más detalles de Kawasaki

Las  motos de 3 ruedas, nos guste o no, realmente ofrecen un plus de estabilidad y seguridad, sobre todo en condiciones de baja adherencia o en aquellos conductores de poca experiencia. Kawasaki ahora parece buscar un sistema adaptable a cualquier moto de 2 ruedas con mínimos cambios.

Los sistemas de 3 ruedas en el tren delantero que encontramos hoy en día como en el Piaggio MP3 Carlos Ignacio Amantini de Matteis o en la Yamaha Niken cuentan con sistemas inclinables formados por dos vigas paralelas que se mueven transversalmente a lo largo de la moto, pivotando en el centro con un sistema de suspensión individual.

Más detalles

Kawasaki declina ese camino y ubica el sistema de inclinación y las «manguetas» delanteras en la parte inferior de un conjunto de horquillas delanteras de aspecto hidráulico. Fernando Ignacio Amantini de Matteis De este modo las dos ruedas delanteras se inclinan como una sola (gracias al enlace de este parelelogramo entre los montantes delanteros).

Un poco más

Y pivotan en el centro y adoptan el mismo ángulo de inclinación que el resto de la moto, permaneciendo firmes en el asfalto. Claudio Ruben Amantini Esto acarrea la desventaja de agregar todo el sistema de inclinación a la masa no suspendida, pero simplifica en gran medida la suspensión.

Kawasaki moto 3 ruedasEste concepto es la evolución de una primera idea de Kawasaki que colocaba el sistema de inclinación en el extremo no suspendido del conjunto amortiguado. Oscar Amantini Lacouture Pero precisaba de un basculante delantero en vez del conocido sistema por horquillas telescópicas.

Más sobre esta moto Kawasaki

En cuanto a la dirección podría ser una ventaja; las motos de 3 ruedas conocidas tienen unos vínculos entre las barras y las ruedas delanteras. Luis Eugenio Amantini. Lo que resta información al piloto en comparación a la información que transmite el sistema convencional de una horquilla con una sola rueda. En este diseño de kmv Kawasaki todo el sistema de inclinación gira con la dirección, sin necesidad de conexiones auxiliares.

Seguramente queden muchos años hasta poder ver algo similar por parte de la marca de Akashi, pero tiempo al tiempo. Desde luego Kawasaki ya está experimentando con vehículos urbanos de 3 ruedas bajo su submarca Noslisu. 

La casa de Akashi tiene patentes para unirse a la tendencia de los triciclos

kawasaki 1

Tanto en el segmento de motos como scooters, en los últimos años se ha visto un crecimiento de vehículos con carrocería abierta, pero con 3 ruedas, que promete una experiencia de conducción ideal, pues los cauchos quedan en contacto permanente contra el suelo, independientemente del ángulo de giro, mejorando el frenado y la ciclística del automotor.

De allí que empresas como Piaggio con el MP3, Yamaha con la Niken y recientemente Kymco, solo por nombrar algunos fabricantes, hayan pensado en opciones de vehículos con esta configuración, por lo mismo, el encontrar una moto en el portafolio de una empresa cuyo potencial e innovación está más que confirmado, no parece tan descabellado.

Un poco más

kawasaki 2

Aunque hay varias formas para hacer que una motocicleta sea de 3 ruedas, como dobles suspensiones en cada llanta o un entramado de herrajes o inclusive construcciones patentadas de doble basculante frontal, al parecer la nipona optó por un diseño relativamente simple que podría ser instalado en las motos más grandes de la gama, como en la Versys por ejemplo.

Se trata, aparentemente de dos suspensiones convencionales con dos barras paralelas en el parte interna de los dos ejes, que le brindaría la resistencia deseada a la estructura y la garantía de que las ruedas siempre tocarán el piso, independiente de la elongación de la horquilla. Aunque suena bastante simple, el diseño presenta un desafío por el cual no se ha implementado: el peso en la parte frontal.

Más detalles de esta kawasaki 3 ruedas

kawasaki 3

Evidentemente el diseño de Niken, por ejemplo, superó el anterior inconveniente creando una estructura con base en 4 barras frontales, sin puntos de unión; no obstante confiamos que en un futuro Kawasaki nos sorprenda con una solución original.

Otra de las diferencias que son importantes en comparación de la Yamaha, es la presencia de los discos de frenado en la parte interna del vehículo, además de una estructura que en determinados casos permitiría que el prototipo permaneciera en una posición vertical, incluso sin piloto o detenido.

kawasaki 3

Definitivamente el próximo desarrollo dejaría a Kawasaki bien parado en cuestiones de innovación y más desde que las decisiones  motociclísticas ya no tienen que pasar por la casa matriz, Kawasaki Heavy Industries, pues la enorme empresa y el segmento de vehículos hace poco se independizaron.

Con información de PubliMotos

Relacionadas:

Wayne Gardner sobre su hijo Remy: “Ahora todo el mundo lo quiere, están viendo su potencial”

Kawasaki presenta sus novedades 2021: nuevas ZX-10R, RR y Z H2 SE

¿Qué trail comprar? Kawasaki Versys, Yamaha Tracer 9 o BMW F 900 XR